治理污染是一项长远而又艰巨的工作,倍受社会关注的,污染直接影响着生存环境,威胁着我们的健康。近几年,山西介休市昌盛煤气化有限公司污染问题一直被当地人所关心,环保部门多次对该企业进行罚款,但始终也没得到有效的治理,浓烟直冲蓝天。

山西介休昌盛煤气化有限公司,位于晋中市介休市连福镇大埝村,是晋中市十大焦化行业企业之一,也是介休市的重点工业企业和城市气源企业。

12月20日,17点39分,从远处就看到介休市昌盛煤气化有限公司浓烟滚滚冒个不停,黑烟黄烟弥漫整个蓝天,整个连福镇大埝村附近淡蓝得天空蒙上了一层朦胧的灰黄。
据附近村民介绍:昌盛煤气化是这里的大企业,一般没人管,不冒烟的时候很少,烟已经冒了多少年了,少冒也就万福了。

当地环保部门真的不管吗?并非如此。
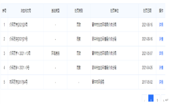
有数据显示,介休市昌盛煤气化有限公司,仅在2021年4—8月分,因环境污染被晋中环境生态局介休分局罚款4次,其中8月份就罚款两次。

罚款并不等于治理,一罚了之,起不到治理地效果,介休环保部门在对待企业污染问题,款罚了,就认为治了污服了责任了吗?到头来企业还是老生常谈,污染依旧,而对于环保部门,罚款成了遏制企业污染面对社会的挡箭牌,给社会的交代就是我们管理!
介休市昌盛煤气化有限公司,是晋中市十大焦化行业企业之一,大企业更因该对社会负责,更的有责任感,污染环境不能靠侥幸,花钱就万事大吉心态,企业迟早会倒闭。作为环境监管部门应该得到反思不要等出了问题挨了板子在去管理。

有关部门也应该对晋中介休昌盛煤气化有限公司为什么会长期污染,得不到解决的相关问题进行问责!治理污染靠大家,离不开社会每个人的支持!希望介休昌盛煤气化有限公司污染问题及时解决,为介休经济发展贡献的同时,也为社会负责!
健康透视。焦化厂对空气的污染是多方面的,由于在炼焦装煤的过程中,炉体内的温度高达约1000度,而炼焦煤基本是常温,所以太大的温差使得装煤的过程,成为烧煤的过程,因此造成了冒烟冒火,因而污染了空气;炼焦加热的过程中,多因炉体密封出现问题,因此,造成了跑冒烟气而污染空气;出焦熄焦的过程中造成的污染,分为两部分:一是出焦时焦炭的温度高达约900度,而许多焦炉是僘开式接焦,跑冒污染特别严重。另外炼焦过程中产生的苯主要以蒸气形态经呼吸道进入人体,短时间吸入高浓度苯蒸气和长期吸入低浓度苯蒸气均可引起作业工人身体损害。短时间大量吸入可造成急性轻度中毒,表现为头痛、头晕、咳嗽、胸闷、兴奋、步态蹒跚。严重者也可因呼吸中枢麻痹死亡。长期低浓度接触可发生慢性中毒,症状逐渐出现,以血液系统和神经衰弱症候群为主,表现为血白细胞、血小板和红细胞减少、头晕、头痛、记忆力下降、失眠等。严重者可发生再生障碍性贫血,甚至白血病、死亡。